Das Laden öffentlicher Elektrofahrzeuge wird immer besser und in immer mehr Gebieten werden Schnellladestationen installiert. Allerdings besteht weiterhin das Problem, in langen Schlangen warten zu müssen. Ich habe mir die gesamte zweite Staffel von „Fallout“ auf meinem Handy angesehen, während ich im Februar an verschiedenen Sendern von Electrify America gewartet habe. Aber GM hat möglicherweise gerade einen Weg gefunden, die Wartezeiten beim Laden zu verkürzen, indem es mehreren Elektrofahrzeugen ermöglicht, dasselbe Ladegerät gleichzeitig zu verwenden.
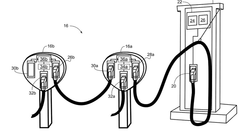
Ein neues von GM eingereichtes und von der GM Authority ausgegrabenes Patent zeigt, dass ein Haupt-Gleichstrom-Schnellladegerät an mehrere Low-Power-Access-Points (LPAP) angeschlossen ist, die in einer Daisy-Chain verbunden sind. Die Idee ist, dass das Haupt-Gleichstromladegerät Strom an diese LPAPs senden kann, die dann jeweils ein Elektrofahrzeug laden können. Die Patentzeichnungen zeigen, dass ein Gleichstrom-Schnellladegerät zwei verschiedene Elektrofahrzeuge mit Strom versorgt, die an LPAPs angeschlossen sind, was theoretisch die Anzahl der Ladepunkte verdoppeln würde.
Die Ladestation könnte entscheiden, welche Autos zuerst aufgeladen werden
Laut Patent verfügt jeder LPAP über drei Stecker: einen, der entweder an das Gleichstromladegerät oder den vorherigen LPAP der Serie angeschlossen wird, einen, der das Auto auflädt, und einen, der an den nächsten LPAP der Serie geht. Jeder LPAP ist außerdem mit Controllern ausgestattet, die sowohl mit dem Auto als auch mit der Haupt-Gleichstrom-Ladestation kommunizieren. Sie können den Ladezustand und die Batteriespannung jedes Elektrofahrzeugs ermitteln, sodass das Gleichstromladegerät priorisieren kann, wie der Strom auf die mehreren Elektrofahrzeuge verteilt wird. Das System könnte möglicherweise herausfinden, wie die Autos am schnellsten aufgeladen werden können, indem es den Autos mit der höchsten Spannung Priorität einräumt. Oder vielleicht leiten Sie den Großteil seiner Leistung an ein Auto weiter, dessen Leistung extrem niedrig ist, bis er einen bestimmten Punkt erreicht, und verteilen ihn dann gleichmäßiger.
Die derzeit schnellsten öffentlichen DC-Ladestationen, die Sie finden können, können mit 400 kW laden. Es gibt viele neue Elektrofahrzeuge, die eine Leistung von 350 kW oder mehr erreichen können, aber 150 kW ist die gängigste Schnellladegeschwindigkeit. Könnte also mit der potenziellen Technologie von GM eine 350-kW-Gleichstromstation zwei Elektrofahrzeuge mit jeweils etwa 150 kW laden? Wenn ja, denke ich, dass viele Kunden das gerne in Kauf nehmen würden, anstatt darauf zu warten, dass ein einziges Ladegerät mit voller Leistung verfügbar wird.









